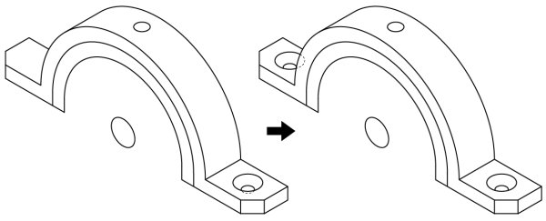
今回は以下の様な部品です。
図面ですが、基本的には最新JISにのっとっています。
右上の“キリ”という文字がある所は、なかなか見ない表記かと思います。
キリはキリで穴をあけたような穴という意味で、真ん中の“ヘ”が逆さになったような記号は“サラ座グリ”の意味で、座グリの面に現れてくる円の直径が9mmで、その後の90°は座グリの開きが90°である事を示します。
つまり以下の様な事です。
以降、あくまでも私が描くとしたらという観点で描きますのでご了承ください。
X面から描いていきますが、6mm出っ張ったところは最後に出っ張らすと考えて、フラットな面としてとりあえず描いていきます。
X面で10mm35°楕円を作り、500%・600%・700%に拡大コピーします。
その後、Y軸方向の中心線を引き、下半分を削除します。
中心から下側に5mm、幅方向が110mm-50mmで60mmの半分で30mmです。
その後、厚みが5mmですので下図のようになります。左右共にです。
全体の奥行が15mmで、手前側下にC5があります。少し線を足して整理します。
てっぺんに5mmの貫通穴があります。補助線を引いて位置を決定します。
残しておいた10mm楕円を60°回転コピーさせてZ面用にします。
穴位置は45mm/330°方向、8mm/30°方向に移動させます。
座グリの開きの最大が9mmですので10mm楕円を90%にコピーし、さらにキリ穴が4mmですので40%に縮小します。
4mm楕円がどれだけ下がるか距離が出ていませんので、開きが90°という事で以下の様に考えます。
従いまして4mm楕円を2.5mm下げて見えなくなる部分を削除し、150°方向に90mmコピーして見えなくなる部分を削除します。
5xφ5貫通穴を描きます。
手書きの頃には楕円分度器という非常に便利な道具がありました。以下の様なものです。
楕円分度器の中心を中央の10mm楕円の中心に合わせてY面に当て、角度を測ります。楕円分度器の一番外側のメモリが角度を表しています。
しかし、パソコンでテクニカルイラストを作成しているのにアナログな楕円分度器を当てるのもチョット...。
ではどうしましょう?
ここでは以下の様なアイソメ変形の方法で描いてみます。手っ取り早い方法だと思います。
まず、図面と同じように半径30mmの正円と、その上に配置されたφ5の正円を5つ描きます。この時、半径30mmの正円の中心がわかるように小さい中心線を入れておきます。
そしてφ5の円の中の半径30mmの正円は消します。
今描いた全体を選択し、45度回転、垂直方向のみ58%に縮小、-60度回転させます。
これを122%に拡大します。
重なってしまいますので、今まで描いてきた図形の以下の赤線部分を削除しておいた方が良さそうです。
小さく描いた中心を、今まで描いてきた図形の中央10mm楕円の中心に合わせて配置します。
以下の赤破線部分を削除します。下側に少し縦線が残るのを消さないでください。
下図の様に、今作った部分を6mm・210°方向へコピーします。
手前と奥側の不要部分を削除します。どこが残る線か間違えやすいので注意してください。
前後の5mm楕円をつないでいきます。R30の前後を結ぶ稜線も引きます。
奥行の15mm分、R25の半楕円を150°方向へ移動します。
不要部分を削除し整理します。
C3の面取りを考慮して線を足し、完成です。
いかがでしょうか。
今回は、サラ座グリの考え方とアイソメ変形がキモでしょうか。
では。

